Logo www.aquapond.sk

Menu

Dopyt na bazén


<<  7/7 

Navíjacie zariadenie 5,4 - 7,1 m s elek. pohonom a teleskopickou tyčou - nastaviteľná výška

Doprava zdarma
Extra zľava

Navíjacie zariadenie 5,4 - 7,1 m s elek. pohonom a teleskopickou tyčou - nastaviteľná výška

Popis

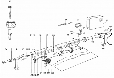
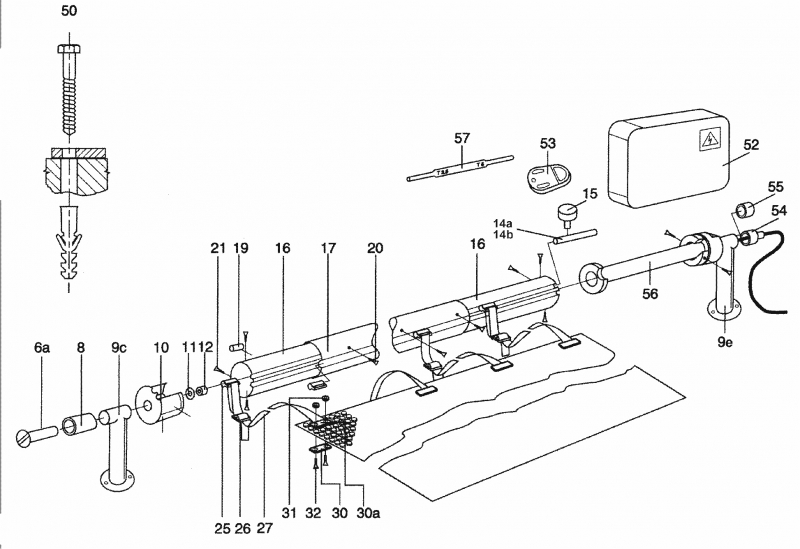
Obsahuje: el. pohon s mikrospínačmi ,transformátor 12 V,ovládací panel so zamykateľným spínačom a diaľkovým ovládačom. Prečítajte si viac
Kód produktu: 6019371



Výhodné ceny

Overené zákazníkmi

Rýchle dodanie

20 rokov na trhu

Vernostný program


  • Navíjacie zariadenie 5,4 - 7,1 m s elek. pohonom a teleskopickou tyčou - nastaviteľná výška

    Toto zariadenie obsahuje el. pohon s mikrospínačom pre nastavenie koncových polôh, transformátor 12 V, el. spínacia skriňa, ovládací panel so zamykateľným spínačom a diaľkovým ovládačom. El. pohon má 1,5 m kábla pre pripojenie a je konštruovaný pre umiestnenie do navíjecej tyče navíjacieho zariadenia.

    • Dialkové ovládanie odmotávania a namotávania plachty - pomocou kľúčenky.
    • Zastavenie navíjacieho zariadenia v správnej polohe sa nastaví pri inštalácii koncovými spínačmi.

    Technické parametre

    • Napájanie: 230 V/50 Hz
    • Krytie: IP 55 • Motor: 7 ot/min, 35 Nm
    • Napätie motora: 12 V ss
    • Vypnutie pri preťažení motora
    • Motor je vybavený koncovými vypínačmi, rozlišujícími smer otáčania
    • Zmena smeru navíjania



    Zoznam náhradných dielov

     

    Kompletný zoznam náhradných dielov nájdete tu: 

     

    Náhradné diely pre navíjacie zariadenie s el. pohonom a teleskopickou tyčou - 5,4 - 7,1 m CLASSIC REEL

     



     


    Súbory na stiahnutie

    Katalog Vágner Pool 2015, str.241.pdf
    Ovádání. el. navíjecího zařízení v2.0 - 2015 - popis zařízení - technická data.pdf
  • K tomuto produktu môžete potrebovať

    Poradie Číslo Obrázok Kód Názov produktu ks Cena
    1.
    6011009
    -
    +

    60,00 EUR/ks
    Kúpiť
    2.
    600036036
    -
    +

    7,50 EUR/ks
    Kúpiť
    3.
    600050036G
    -
    +

    11,00 EUR/ks
    Kúpiť
    Cena spolu: 78,50 EUR
    Vložiť všetky do košíka
  • Doprava a platba

    Tovar zasielame prepravnými službami Packeta ( 3000+ výdajných miest na Slovensku) a SDS. Tovar je možné po predchádzajúcej objednávke vyzdvihnúť osobne v našom sklade v Orechovej Potôni 311. Doprava je ZADARMO pri objednávke tovaru nad 200 Eur. Platbu môžete realizovať dobierkou, online platobnou kartou, prevodom na účet alebo cez PayPal. Pri osobnom vyzdvihnutí je možná platba v hotovosti a platobnou kartou.
    O termíne dodania Vám ochotne poradíme na tel. číslach: 
    +421 915 696 394, +421 905 500 955, +421 911 545 479. Detailnejšie informácie o spôsoboch dopravy nájdete v sekcii Obchodné podmienky.

Zdielajte tento produkt
Facebook  Twitter  Google  LinkedIn  Pinterest  Email 

Naposledy prezerané produkty

KONTAKTY

E-shop pre bazény a jazierka
 +421 905 500 955
 +421 915 696 394
 servis@aquapond.sk
 objednavky@aquapond.sk

Bazény Compass a prestrešenia bazénov
 +421 911 545 479
 +421 907 545 479
 bartal@aquapond.sk


© Všetky práva vyhradené - www.aquapond.sk
Tvorba eshopov

Nastavenie súborov cookies
Na fungovanie našej webovej stránky používame nevyhnutné cookies (essential cookies) umožňujúce realizovať základné funkcionality webovej stránky. Tieto cookies môžete zakázať zmenou nastavení Vášho internetového prehliadača, čo však môže ovplyvniť fungovanie webovej stránky. Radi by sme tiež využívali dobrovoľné cookies (non-essential), ktoré nám pomôžu zlepšiť fungovanie našej webovej stránky. Pre ich povolenie, prosím, odkliknite súhlas.
Ochrana osobných údajov  |  Informácie o cookies
Súhlasím Prispôsobiť Odmietnuť
<Naspäť
Podrobné nastavenie cookies
Súbory cookie používame na zabezpečenie základných funkcií stránky a na zlepšenie vášho používateľského zážitku. Svoj súhlas pre každú kategóriu môžete kedykoľvek zmeniť.
<Nevyhnutné cookies
 
Technické súbory cookies sú nevyhnutné pre správne fungovanie našej webovej stránky. Tieto sa využívajú najmä na uchovávanie Vašich produktov v košíku, zobrazovanie obľúbených výrobkov, nastavenie Vašich preferencií a nákupného procesu. Pre využívanie technických cookies nepožadujeme Váš súhlas, ale spracúvame ich na základe nášho oprávneného záujmu. Váš prehliadač môžete nastaviť tak, aby blokoval alebo Vás upozorňoval na takéto súbory. V takom prípade však nemusia niektoré časti našej webovej stránky správne fungovať.
<Analytické cookies
 
Analytické cookies nám umožňujú meranie výkonu a počet návštev našej webovej stránky.
<Marketingové cookies
 
Marketingové cookies sú využívané reklamnými a sociálnymi sieťami na prispôsobenie zobrazovaných reklám tak, aby pre vás boli čo najzaujímavejšie.
Povoliť všetky Povoliť zvolené Odmietnuť
Uložiť Odmietnuť